发布时间:2026年04月24日 [返回列表]
项目地点:浙江,青田
建筑面积 :约35,800㎡
清水面积 :12,000㎡
主持设计 :Olivier Greder
设计团队:徐飞、包峥、杨长青、章太雷、陈浩、王杰平、张斌、沈迪、傅莉萍、王彦兴、李文葛、楼煌杰、何俊、戴清清、吴恒斌、龚凯、杨晓华、余倩、吴丹、周晓、王蕾、王一启、王派 、王冉、王思嘉、周沛锋、陈逸鸿、徐旻、林周龙、江澜、李淳、曲佳音、季汪靖、孟绍锋
建筑摄影:此间建筑摄影
设计单位 :OGA有所谓设计工作室
结构及施工图配合单位:中国联合工程有限公司
业主单位:青田县城市发展投资有限公司
施工单位:河北建工集团有限责任公司
清水施工 :北京益汇达清水建筑工程有限公司
项目总建筑面积约 35800 平方米,其中地上建筑面积约 13320.18 平方米,地下建筑面积约 22490.5 平方米。地上部分为一栋 21.75 米高的多层公共建筑,主要功能为商业及相应的配套服务设施。地下部分设置两层地下室,地下一层含部分地下商业,其余功能为停车库及相应配套设备用房,地下二层整体功能为停车库及相应配套用房,含兼顾式人防设计。
▲青田侨博广场项目效果图
▲青田侨博广场项目实拍图 ©此间建筑摄影
设计概况
青田作为著名的侨乡,66%的人口分布于全球146个国家,主要集中在欧洲。青田的城市发展定位是“欧陆风情、山水家园”。侨博广场项目坐落于青田欧洲进口商品城所在地——油竹片区的核心地带。从一开始我们就在思考如何打造既能成为城市枢纽又能象征城市精神的建筑,它既是城市的锚点,又为片区与城市注入全新的身份认同。
它应该是一个融合青田特质和欧洲文化的“混血作品”。
我们的设计旨在呈现城市与城市生活的美好价值。作品回应了城市,与城市有着强烈的共鸣。它充分利用场地的可见性,将城市延展至其内部的负形空间。整个建筑就像一个剧场,我们既是演员又是观众。它提供了多重的视角和序列,超越了那些被认为最具灵活性的建筑。
公共广场是按照一种欧洲经典的秩序原则设计的。这种空间布局延续了建筑本身对城市结构衔接的追求,而且也提供了最大的使用价值。该项目通过营造宜居性极高的开放空间,以颂扬都市生活的方式强化城市性,同时体现公共空间的价值与意义。
整个项目施工难度极高,比如说拱形剪力墙结构体系的设计论证、彩色清水混凝土的本地化实现、复杂钢结构连廊楼梯的落实、U形玻璃幕墙的定制、大型穹顶开合屋盖的设计实施等等,都具有创新性。
▲青田侨博广场项目实拍图 ©此间建筑摄影
施工概况
#01项目结构概况
建筑南北方向长68m,东西向宽55m,结构高度23.75m,结构分为拱形结构和框架结构,其中室内各类型拱为彩色清水混凝土结构。
本项目由拱形壳体抗震墙及框架结构组成,根据建筑平面,其被三个通高拱型结构(A拱)划分为三个区域(A区、B区、C区),其中C区的1-3F被B拱切分为C1、C2两个小区域,C、D类型拱分别在1-2F、3-4F各跨两个楼层。

▲建筑平面关系图
图中红、蓝、黄、绿色块分别代表A、B、C、D拱
1.1 A类型通高大拱
A拱结构形式为三个空间混凝土带肋壳体,分别命明为A1、A2、A3,在建筑中部碰撞交汇,其结构高度跨越整个建筑,最高点高度为23.75m,厚度400mm,反肋柱600mm,跨度统一为14.165m。与各个楼层梁板、及其他类型拱碰撞相切呈现不规则通道洞口状态。
▲A拱范围及结构模型图
1.2 B类型1-3F大拱
B拱在C区跨越三个楼层,与A2、A3拱相切。将C区三层以下分为C1、C2区,四层重新合并为一个大施工区。B拱壳体厚度400mm,反肋柱600mm,在所在楼层内与c类型拱相互碰撞,壳体上形成异型洞口。
▲B拱范围及结构模型图
1.3 C、D类型跨两层连续小拱
本项目室内小拱主要为C、D两个类型,在1-2层、3-4层布置,均跨两个楼层,其中C拱在2层时与结构梁板结合;D拱在4层与结构梁板结合,2层,4层拱与梁板之间为设备夹层。

▲C、D拱范围及结构模型图
1.4 地下室顶板Y9轴交X14轴~X15轴梁
该梁位于地下室顶板梁Y9轴交X14轴~X15轴位置,结构尺寸为600mmX1500mm。梁跨度为6.4m,两侧楼板厚度为250mm。根据建设部颁布《危险性较大的分部分项工程安全管理办法》中混凝土模板支撑工程的相关规定:施工总荷载(设计值)15kN/㎡及以上、集中线荷载(设计值)20kN/m及以上;属于超过一定规模的危险性较大的分部分项工程。
▲Y9轴交X14轴~X15轴梁平面图
#02分段思路
2.1水平分层
本项目从一层至拱体顶按楼层划分 为五个大的阶段。为保证混凝土浇筑成型质量,各个阶段按构件特点分区浇筑。水平施工缝随楼层建筑标设置,且应与此部位蝉缝吻合,还需结合建筑防水、单次浇筑高度、构件特点等考虑,本项目可视面的水平施工缝所影响的构件仅为A、B两类型大拱。
C、D两类型拱均跨两个楼层,在2/4层与结构梁相连,无法同时施工,为了避免A/B拱的主要空间在每个楼层水平向出现两条施工缝,因此需优先施工室内连续拱,与A/B拱相连接部位在内侧设置施工缝断开,底部可考虑为明缝状态,A/B拱二次与结构梁板一起浇筑至相应标高。
▲混凝土浇筑分段
第一阶段:第一层墙板一同施工
第二阶段:二层小拱先施工,梁板与A拱一同施工
第三阶段:三层B拱先施工,梁板与A拱一同施工
第四阶段:四层小拱先施工,梁板与A拱一同施工
第五阶段:拱顶段
2.2竖向分段
根据设计图纸,首层拱为单曲剪力墙,可与非清水梁板共同浇筑,水平施工缝高度5.7m。
▲第一阶段拱体混凝土浇筑竖向分缝示意图
2F拱闭合与梁板局部连接,需先施工完成室内拱形通道,室内拱与大拱在连接截面以内约300mm做施工缝断开,可考虑以明缝来处理。
(1)A/B大拱与非清水梁板一起施工。
(2)由于A/B区面积较大,根据施工部署,可考虑竖向做一次分段,在造型拱顶断面最小部位做分割,本层水平施工缝高度10.35m。

▲第二阶段拱体混凝土浇筑竖向分缝示意图
3F的A区不与A拱相连的墙柱可先施工至梁底标高,与A拱相连的拱墙柱与非清水梁板一起施工;B区清水拱墙与梁板一同浇筑,平面划分为两个区域;C区因B拱在本层闭合,本区B拱及相连清水在A拱交接处以内做施工缝断开先施工,其余A拱及梁板一起分两次浇筑完成。

▲第三阶段拱体混凝土浇筑竖向分缝示意图
4F的分缝原则与2F一致,室内拱均与A拱在连接部位以内做施工缝断开。 4F的A拱与三个大区屋面梁板分别浇筑完成,水平施工缝设置在A拱的水平完成面(天窗),三个区域屋面梁板竖向不设置施工缝。

▲第四阶段拱体混凝土浇筑竖向分缝示意图
A拱三个独立壳顶分别完成封顶。
▲第五阶段拱体混凝土浇筑竖向分缝示意图
#03彩色清水混凝土施工控制要点
3.1清水混凝土根部节点做法
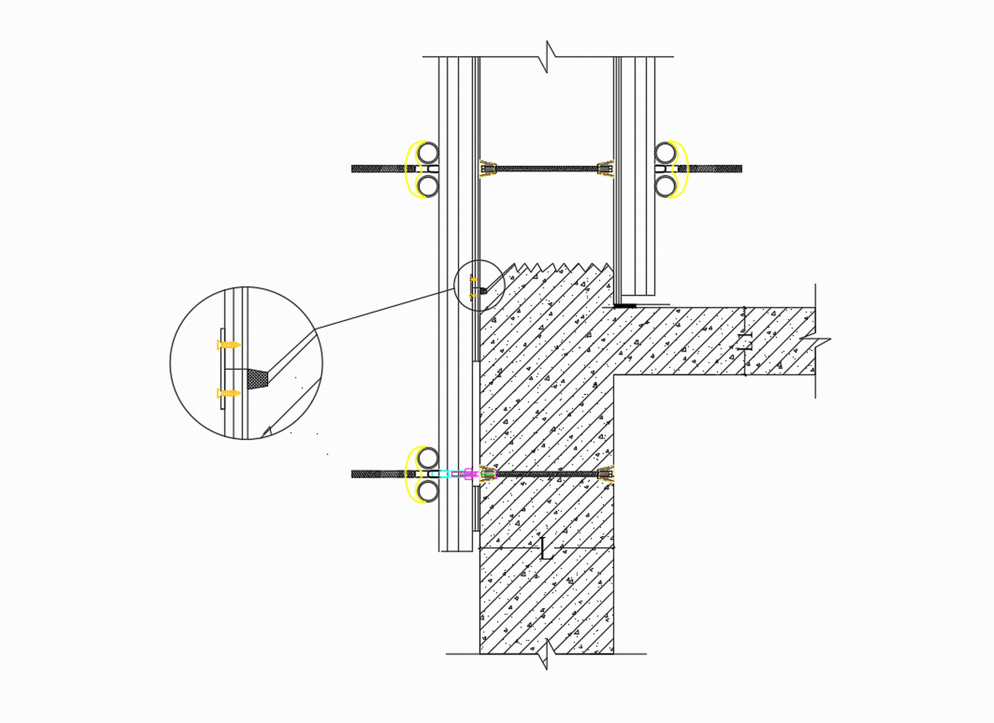
首层模板根部加固防漏浆措施:模板安装前对基层进行找平,接茬部位进行凿毛,模板底部粘贴双面胶条,底部地面距离模板边50mm位置钉木条子并且使用砂浆将进行封堵,以此来防止漏浆。对将与模板面接触的混凝土面进行检查,确保其顺直平整,并保证模板面与已浇筑的混凝土面严密结合,确保模板底部与混凝土接触面严密结合不漏浆,详见下图。
▲拱体根部节点详图
3.2外侧模板安装与加固
大拱模板分层支设是利用下层已浇清水混凝土拱体最上部的一排对拉螺栓孔眼,通过螺栓连接主龙骨达到模板支撑的操作面。支上层拱体模板时,通过螺栓连接,将模板与已浇筑清水混凝土拱体贴紧,利用固定于模板面的明缝条,杜绝模板下边沿错台、漏浆,贴紧前将墙面清理干净,以防因墙面与模板之间夹渣的存在,造成漏浆。

▲清水混凝土水平施工缝详图
3.3彩色混凝土浇筑要点
根据其他优秀彩色清水混凝土项目经验,结合青田地区混凝土原材,施工前期在商品砼搅拌站多次试配彩色清水混凝土配合比,检验混凝土性能,确定粗骨料以及掺和料的大致用量。
彩色混凝土预实验,初步考虑采用氧化铁黄、氧化铁红等氧化铁色素对彩色清水混凝土的颜色进行多次调配、对比筛选根据混凝土中的水泥、钢渣粉、掺合料、碎石人工沙、碎石、水、外加剂、氧化铁红、氧化铁黄以及其他进行配合比方案比选,做多组样块,确定坍落度和延展度,最终选定配合比。
▲混凝土配比实验
完工概况
©此间建筑摄影
©此间建筑摄影
©此间建筑摄影
©此间建筑摄影
©此间建筑摄影
©此间建筑摄影
©此间建筑摄影
©此间建筑摄影
©此间建筑摄影
©此间建筑摄影
©此间建筑摄影
当“华侨之乡”不再满足于符号化的移植,而是将融合视为一种内生创造力,建筑便从形式的容器升华为精神的锚点。青田侨博广场部分作为油竹街道核心区的一块拼图,与周边体育馆、商业综合体自然衔接,日常服务于周边居民的购物、散步与集会需求。
本文部分照片及文字经OGA有所谓设计工作室授权